Газовий шаблон: політика Газпрому в Центральній Європі та Україні
Росія… брат, друг, ворог чи партнер?
Різні політики обох держав по-різному позначають особливі відносини між ними. Всі сходяться принаймні на тому, що Росія – особливий партнер, що вона прагне побудувати відносини з Україною на взаємовигідній основі.
Однак реалії цинічніші: Росія, як і належить самосвідомій державі, послідовно втілює власні інтереси і амбіції, діючи прагматично і використовуючи шаблони, які дають позитивний результат.
Зокрема, численні заяви про нібито можливість особливого співробітництва з Росією в газовій сфері, важливість для неї України як стратегічного партнера, заклики до більш тісної співпраці у цій галузі розбиваються об простий факт: Україна для Росії – ще одна арена для не раз використаної в інших країнах Європи схеми із встановлення контролю над ринком природного газу.
Цей факт має бути прийнятий, як би не хотілося закривати на нього очі, і дії у відповідь мають бути адекватними.
Участь Газпрому у схемах поставки газу до Східної Європи
Як виявляється, у Газпромі вважають за краще дотримуватися принципу "не слід вигадувати велосипед". Фактично одна й та сама схема з деякими змінами була використана ним для проникнення на ринки ряду східноєвропейських країн.
Розглянемо участь Газпрому на газових ринках Словаччини, Польщі, Угорщини та Литви.
На ринку Словаччини Газпром представлений як акціонер спільного підприємства Словрусгаз (Slovrusgas). Іншим акціонером є словацька компанія SPP. В свою чергу 51 % акцій останньої належить словацькому урядові, а 49 % – консорціуму Газпром – Ruhrgas - Gas de France.
Таким чином, забезпечується домінування Газпрому у СП Slovrusgas. Також, у свою чергу, в консорціумі проявляється спільність інтересів зазначених вище компаній.
На ринку Польщі Газпром неодноразово проявляв свою зацікавленість у концерні PGNiG, державному монополісті на газовому ринку. Через відмову держави продавати концерн, Газпром виходить на польський ринок через компанії РосУкрЕнерго та Emfesz.
Перша постачає газ для PGNiG, друга ж працює в обхід державних структур і займається поставками газу напряму для найбільшого польського споживача, однак для цього їй потрібно укласти договір на використання державних газопроводів.
Також поставки газу для PGNiG відбуваються через спільне підприємство, утворене PGNiG і Verbundnetz Gas, остання з яких пов'язана з Ruhrgas.
Крім того, Газпром пов'язаний з PGNiG через спільне підприємство ЄвроПолГаз, яке є оператором польської частини газопроводу Ямал-Європа. Газпром має вирішальний вплив в СП завдяки поєднанню своїх 48 % акцій та 4 % акцій компанії-посередника Gas Trading, яка вважається його партнером.
На ринку Угорщини головним гравцем був державний концерн MOL, з яким Газпром утворив СП Панрусгаз, що займається поставками і продажами газу на внутрішній ринок. Це призвело до збитків з боку MOL, оскільки основна частина продажів почала проходити через СП.
За програмою приватизації весь газовий бізнес MOL було продано німецькій компанії E.ON, яка є власником Ruhrgas. Через два місяці Газпром купив у E.ON частину акцій колишніх активів MOL, що є ілюстрацією партнерських відносин Газпрому та E.ON.
На ринку Литви Газпром володіє 37,1 % акцій найбільшої газової компанії Lietuvos Dujos, поряд з цим 39 % акцій належать консорціуму E.ON Energie i Ruhrgas. Постачання Литви газом Газпром здійснює на 70 % саме через Lietuvos Dujos, решту – через компанію Dujetikana, свого можливого партнера.
Таким чином, можна вивести загальну схему проникнення Газпрому на ринки країн Східної Європи:
![]() |
Для цієї схеми характерним є існування так званої "третьої сторони", через яку Газпром просуває свої інтереси. Її діяльність може виражатись у формі СП чи посередника.
Особливу роль також відіграє залучення партнерів Газпрому для встановлення контролю над енергетичною системою держави. Ними здебільшого виступають німецькі компанії, що пов'язані з корпорацією E.ON.
Кількість посередників залежить від доступності самої енергетичної системи. Наприклад, у Польщі діє чотири посередники, серед них і РосУкрЕнерго.
Функції спільних товариств Газпрому і місцевих компаній дещо відрізняються, проте фактично вони створюються для ширмування експансіоністської діяльності Газпрому.
Основними елементами цієї схеми є цільова компанія, СП, партнери та посередники. Вони залишаються незмінними, тоді як побудова схеми і варіації партнерів чи посередників формуються відповідно до ситуації в країні. Це забезпечує її можливості до адаптації і ефективність.
Слабкі місця такої схеми залежать перш за все від політичної волі уряду країни, де вона проводиться.
Схему можливо нівелювати інструментами антимонопольного законодавства – квотуванням обсягів постачання і продажу газу для кожного суб'єкта, а також їхньою залежністю від газотранспортної системи країни, якщо вона належить державі.
Слабким місцем також є надмірна залежність її працездатності від кожного партнера та посередника, і за певної корекції або цілковитої зміни інтересів якогось із них можливо цілковито порушити таку схему.
Можливі схеми дій Газпрому на газовому ринку України
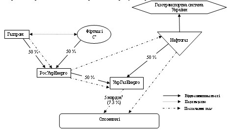
Виходячи з аналізу схеми присутності Газпрому на ринках Європи, можемо констатувати, що подібні комбінації частково реалізовані, а частково можуть бути задіяні в майбутньому в Україні. Зокрема, загальна схема роботи Газпрому в Україні є такою:
![]() |
Ваша пісня гарна й нова…
Одним з проявів втілення "європейської" схеми в Україні є наявність посередника, РосУкрЕнерго, який відіграє більш значну роль, ніж в Європі, він є "обличчям" Газпрому в Україні. Він поєднує функції явного посередника і тіньової організації, механізм його діяльності та українські власники приховані, разом з тим, він явно представляє інтереси Газпрому.
Елементом російської схеми в Україні є наявність СП УкрГазЕнерго. Проте, на відміну від Європи, воно утворено не Газпромом та цільовою компанією – Нафтогазом України, – а Нафтогазом та посередником.
На це СП покладені функції, аналогічні СП Панругаз та компанії Dujetikana – продаж газу кінцевому споживачу на внутрішньому ринку.
Наразі вже маємо і підтвердження повторної експлуатації "європейських сценаріїв".
Зокрема, подібно до ситуації в Угорщині, компанія, котра отримала можливості для продажу значних обсягів газу, може скласти серйозну конкуренцію державній газовій компанії і позбавити її великої частки прибутків.
УкрГазЕнерго/ відповідно до антимонопольного законодавства України? може збільшити свої продажі до 24,11 млрд. м3 газу – 35 % всього українського ринку.
30 липня пролунала заява в той час голови правління "Нафтогазу" Олександра Болкісєва про те, що у зв'язку з майже стовідсотковим переходом промислових споживачів до закупівлі газу в Укргазенерго, перестала бути прибутковою власна компанія "Нафтогазу" "Газ України".
Тим часом RosUkrEnergo вимагає від НАК "Нафтогаз України" до 15 серпня погасити прострочену заборгованість за поставлений у першому кварталі 2006 року газ у розмірі $371,789 млн., інакше погрожує подати в суд з вимогою погасити заборгованість.
А в рахунок погашення заборгованостей можна вимагати багато цікавого. Частки власності в ГТС, наприклад.
Таким чином, підхід, закладений Газпромом у стосунки із центральноєвропейськими сусідами, є загрозою для енергетичної безпеки країни.
Протистояти цьому можна за допомогою державного регулювання і контролю за діяльністю подібних утворень, у тому числі й оприлюднення реальних власників та умов угоди, розробки "правил гри" і, в разі їх невиконання, розторгнення угоди.
Далі буде

